橡胶瓣止回阀又称橡胶瓣逆止阀,主要由阀体、阀盖及阀瓣三种主要零件组成。其中橡胶瓣由钢板作承压件及强化尼龙布做衬底,外层采用热硫化整体包胶技术制成,阀座采用陶瓷喷涂工艺使阀门的寿命更长。该阀采用全流域设计,具有水头损失小,不易堆积杂物,维修简便等特性,该阀主要适用于给排水系统。
主要零件材料
|
零件名称 |
阀体 |
阀盖 |
阀瓣 |
|
材料 |
铸铁 |
铸铁 |
钢材+强化尼龙布 |
主要性能规范
|
型 号 |
公称压力PN(MPa) |
密封试验压力(MPa) |
壳体试验压力(MPa) |
工作压力(MPa) |
介质保温 |
|
H44X-10 |
1.0 |
1.1 |
1.5 |
1.0 |
0-80℃ |
|
H44X-16 |
1.6 |
1.76 |
2.4 |
|

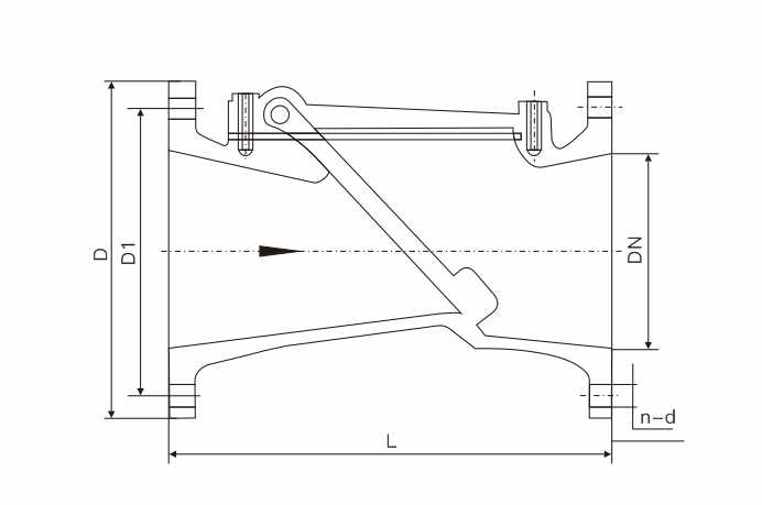
主要外形尺寸
|
型 号 |
DN |
L |
D |
D1 |
dn |
n |
|
H44X-10/16 |
50 |
203 |
165 |
125 |
17.5 |
4 |
|
65 |
216 |
185 |
145 |
17.5 |
4 |
|
|
80 |
241 |
200 |
160 |
17.5 |
8 |
|
|
100 |
292 |
220 |
180 |
17.5 |
8 |
|
|
150 |
356 |
285 |
240 |
22 |
8 |
|
|
200 |
495 |
240 |
295 |
22 |
8 |
|
|
250 |
622 |
395 |
350 |
22 |
12 |
|
|
300 |
698 |
445 |
400 |
22 |
12 |
|
|
350 |
787 |
505 |
460 |
22 |
16 |
|
|
400 |
914 |
565 |
515 |
22 |
16 |
|
|
450 |
978 |
615 |
565 |
26 |
20 |
|
|
500 |
978 |
670 |
620 |
26 |
20 |
|
|
600 |
1295 |
780 |
725 |
30 |
20 |