产品概述
单口排气阀用于管路上的较高点或有闭气的地方,排除管内的气体来疏通管道,达到正常工作,如不装排气阀,管内流动的液体会产生动热引起气体.形成短路,使管道出水容易达不到要求。其次,管道运转转时出现停电、停泵管道就会出现负压力,而会引起管道振动或破裂,(排)吸气阀就迅速把空气吸入管肉,防止管道振动或破裂。单口排气阀有二种连接方式,丝扣、法兰。
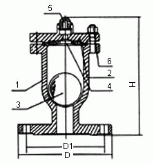
工作原理
单口排气阀主要由阀体、阀门、上盖、阀杆、浮球、排气嘴等组成。当需要排出管道内的气体时,管道内的空气在水的压强作用下进入体腔内,并从排气嘴排出,随之管道内的水充满体腔内,使浮球在水的浮力作用下,向上移动将排气嘴堵塞,达到自行密封,管道在正常行中,水中的空气在压强的作用下,不断排入排气阀的体腔上部,迫使浮球下降,离开原来密封位置,这时空气又从排气嘴排出,随之,浮球又恢复到原来位置自密封,因此,排气阀在正常工作中阀门始终是开着的,浮球不断重复上述动作,空气不断排出。当需要检修或清扫体腔时,应将阀门关闭。单口排气阀,顺时针旋转阀杆时为关闭。

连接尺寸
|
螺纹 |
规格 |
ZG |
Φ |
H |
法兰 |
规格 |
D |
D1 |
Φ |
H |
|
20 |
3/4" |
135 |
205 |
20 |
105 |
75 |
135 |
210 |
||
|
25 |
1" |
135 |
205 |
25 |
115 |
85 |
135 |
210 |
||
|
40 |
1 1/2" |
150 |
205 |
40 |
145 |
115 |
150 |
210 |
||
|
50 |
2" |
150 |
205 |
50 |
160 |
125 |
150 |
210 |